
10年前,亚马逊推出Kindle,改变了人们阅读书籍的方式,也确立了在数字设备上阅读的吸引力。4年前,亚马逊推出Echo,数百万人开始与智能音箱对话。
现在,贝索斯启动了另一个大豪赌:家庭机器人。
据悉这家零售和云计算巨头已经开始一项雄心勃勃的绝密计划,打算制造家庭机器人。
这个项目代号为“Vesta”(灶神星),取自罗马神话中掌管炉灶、火种和家庭的女神。Project Vesta由Lab 126硬件研发部门主管Gregg Zehr负责。 Lab126是成立于2004年的一个秘密实验室,从这里诞生了Kindle阅读器、Echo音箱、Fire TV机顶盒、Fire平板电脑,以及时运不济的Fire Phone。


Lab 126招聘页面
Vesta项目几年前就开始了,但今年亚马逊正在为这个项目大举招兵买马。Lab 126官网的招聘页面有新增了许多“软件工程师,机器人技术”、“传感器工程师”等职位。

亚马逊希望在今年底开始在员工家中试验家庭机器人,并可能最早在2019年与消费者展开合作。不过时间表可能发生变化,而且亚马逊的硬件项目有时候会流产。
目前还不清楚亚马逊的机器人能够执行哪些任务。而 Vesta机器人可能是一个基于Alexa的移动设备,能够在家中没有Echo设备的地方陪伴用户。机器人的原型拥有先进的摄像头和计算机视觉软件,可以像无人车一样在家中导航。前苹果高管Max Paley目前领导亚马逊计算机视觉方面的工作。亚马逊还聘请了机器人行业的专业机械工程师。
近几年来亚马逊在人工智能方面进行了一些大规模投资,如果这些AI工具被用于Project Vesta,我们可以预测亚马逊的机器人将具有哪些功能和机器智能。
亚马逊的家庭机器人可能具备以下五大功能:
情感智能
2017年底,Alexa的首席科学家Rohit Prasad谈到亚马逊如何基于用户每次与Alexa支持的设备进行交流时收集的语音记录来分析用户的情绪状态。亚马逊从识别“沮丧感”开始,以让Alexa知道它是否成功完成了一个任务。后来这种分析扩展到其他情绪类型。
今天,你可以对Alexa说“我感到难过”,然后你会得到一个自动回复。未来,Alexa将能够识别出你的声音与平常说话的声音的细微差别,从而改善Alexa的用户体验。

对于机器人来说,这种知识可以通过语气或手势、动作、表情等方式来表达。
例如,你的车上的或卧室里的Alexa可能在你的说话声中察觉到压力或焦虑的迹象,作为回应,当你的亚马逊机器人看到你时,它的脸上会呈现更热情或安慰的表情。根据你的行为,这些信号可以被机器人用于推荐特定类型的音乐或其他活动。
这种智能非常重要,不仅因为它可以用于广告或实现个性化体验,而且因为了解与人类交流的方式将有助于机器人将交互从简单的命令式转变成更自然的交流。
人脸识别
亚马逊机器人非常可能具备识别用户面孔的功能,并部署Amazon Cloud Cam的所有服务。去年秋天发布的Cloud Cam能够利用运动检测和人脸识别功能向用户手机发送提醒。AWS去年还在AWS Re:invent大会上发布时实时人脸识别技术。

Amazon Cloud Cam
人脸识别也可以用于在房子各处拍摄照片或视频,就像谷歌的Clips相机那样,可以设定拍摄特定的成员。
推荐购物和物体识别
此外,亚马逊的机器人还可以利用计算机视觉来帮助用户购物。亚马逊去年发布的Echo Look就是通过计算机视觉识别衣服并为用户推荐服装。
加上亚马逊的视觉搜索技术DeepLens,机器人能够做的事情会更多。
送货助手
亚马逊的新机器人可以与亚马逊的各种送货服务合作,无论是无人机送货还是去年推出的送货上门服务Amazon Key。
陪伴功能
一个知道如何有效地与人类互动,并增强人类的能力的机器人,可以成为“弥补缺失的伴侣”。亚马逊的机器人可以被赋予这样的智能,使其不仅能够有效完成任务,而且还能够很好地克服机器在与人打交道时遇到的各种挑战。
在短期内,这可能意味着亚马逊的机器人能够与人进行闲聊,也许可以减少人类的孤独感。
更酷的是,一旦这些机器人可用,用户可以选择机器人的个性。
贝索斯可能对机器人有种莫名的偏爱。
据《西雅图时报》(SeattleTimes)报道,在亚马逊公司,2016年的使用的机器人大军有3万,在2017年增长到4.5万,这比北约成员国荷兰的武装力量还多。
这4.5万名机器人主要分布在亚马逊20个Fulfillment仓储服务中心,包括橙色的Kiva机器人和黄色的机械臂。
BusinessInside曾转发过一张图,预计在2019年,Fulfillment仓储服务中心的机器人数量将首次超过人类雇员。

不过,贝索斯的这支机器人军队并不隶属于Lab126,它们是亚马逊机器人公司(Amazon Robotics)的产品,属于工业机器人。
亚马逊机器人公司在2012年以7.75亿美元的大手笔收购了Kiva System,据官方的宣传,Kiva能够搬运约1000磅的货物,并且能实现“充电5分钟,工作一小时”,现在是亚马逊仓储中心的主力。

Kiva的工业机器人
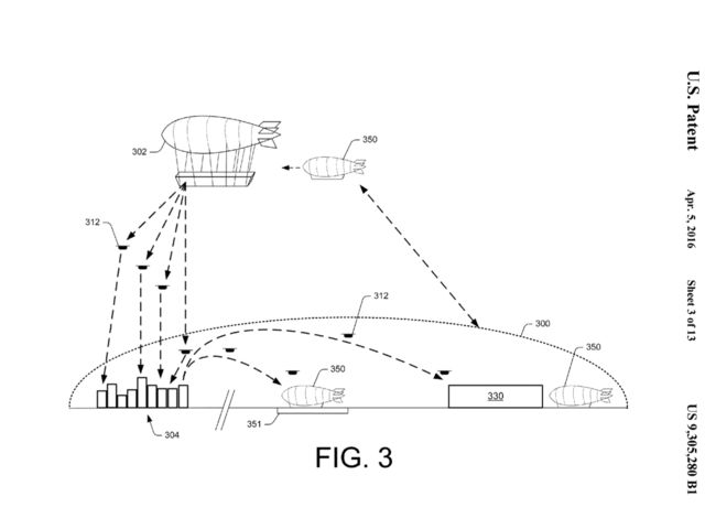
此外,亚马逊在2016年的时候还被曝光提交了一项大型无人机专利技术,亚马逊称之为亚马逊称之为“空中Fulfillment中心”。



空中Fulfillment中心
“空中Fulfillment中心”悬停在空中约45000英尺的高度,同时会用户根据需求移动,既能存货物,又能在有需求时及时配送。
在美国,智能音箱Echo及Alexa助手是市场的主宰,占据了73%的市场份额。四年前问世的Echo引领了全球AI音箱的大爆发。

数据来源:kantar
但AI音箱的普及也让Echo面临无数对手。苹果的HomePod、谷歌Home和它收购的Nest公司等一众玩家都在挑战亚马逊的地位。
智能音箱技术门槛并不高,一旦对手在交互、内容输出上做得更完善,亚马逊的相对相对优势就会丧失。
于是,家用机器人就成了贝索斯的功守道。而且一旦成功,也就意味着革了Echo的命。
实际上,贝索斯的这场豪赌没那么容易获胜。
几十年来,家用机器人能提供陪伴或做基本的家务,已经让这一行业十分诱人,无数人前赴后继,但没有一家成功打进家用市场。
1983年,Atari公司的创始人Nolan Bushnel曾推出了一款由Apple II电脑控制的3英尺高、雪人形状的Topo机器人,算是最早期的家用机器人,但它几乎没有其他功能,销售也很糟糕。
现在,日本和中国在过去几年涌现出一大批机器人公司。日本Robotstart协会去年发布了一份比较全的日本机器人行业图谱,可见这个行业玩家众多,但始终没有出现有绝对地位的领导者。

在“百机大战”的背景下,像亚马逊这样的巨头入场,对从业者特别是创业公司来说可能是个不好的信号。
不仅如此,索尼和LG电子也对这个行业产生了兴趣。在今年1月的CES展会上,LG展示了一款名为Cloi的机器人。索尼公司展示了一款名为Aibo的机器狗的新版本,不过除了会叫,它的作用并不大。

Aibo机器狗
计算机视觉、语音技术的进步使得亚马逊有机会把家用机器人带到市场上,但能否进入家庭,我们拭目以待。
参考资料
https://venturebeat.com/2018/04/23/5-big-features-amazons-home-robot-will-likely-have/
http://patft1.uspto.gov/netacgi/nph-Parser?Sect1=PTO1&Sect2=HITOFF&d=PALL&p=1&u=%2Fnetahtml%2FPTO%2Fsrchnum.htm&r=1&f=G&l=50&s1=9305280.PN.&OS=PN/9305280&RS=PN/9305280
http://www.businessinsider.com/amazon-blimps-airborne-warehouses-2016-12?r=UK&IR=T
http://www.businessinsider.com/amazon-drones-cambridge-to-deliver-parcels-to-uk-customers-2016-12?r=UK&IR=T
http://www.businessinsider.com/amazons-robot-army-has-grown-by-50-2017-1?r=UK&IR=T
https://www.bloomberg.com/news/articles/2018-04-23/amazon-is-said-to-be-working-on-another-big-bet-home-robots
来源:新智元
对于一线大卖都在关注的亚马逊最新核心技术,跨境屋准备了一堂公开课,把以下内容全部涵盖其中,感兴趣的,可以找运营报名哦!
* 关键词首页,非刷单加购物车打流量
* 免费加小类目节点
* 通过EX免费得到VC
* 店铺CPC数据
* 免费报LD
* 任意申请BD
* 删VP差评
* 找差评者站外邮箱
* 彻底杜绝跟卖
* 免费锁仓
* 100%收到VC邀请注册
* 直接封跟卖15-45天
* Deal of the Day
* 任何品牌授权跟卖
* VC现号,7.8万,全行业冰点价
* ASIN FBA出货报告
* 最新一级类目数据TOP 10000-30万
…..

跨境电商圈最有深度的资本和管理干货,都在这里了↓↓
家居大爆发!傲基电商变身跨境家居大卖丨2017傲基财报深度解读
借款3000多万利润多赚500万 新三板跨境大卖安致股份财报解读
深度!为何竞争超大还争相要卖 耳机类产品跨境电商全链条数据分析
大厂崛起!Anker供应商准备冲击A股 (Anker一举动亦细思极恐)

{{comment.user.nickName}} (楼主)
{{comment.time}} 回复({{comment.childAmount}}) 点赞({{comment.voteUpAmount}}) 点赞({{comment.voteUpAmount}})