应一位卖家朋友的要求做一期管道疏通器相关的美国外观专利防侵权检索分析案例,小编找到一款在美国站爆款热卖的蛇形管道疏通钩,分享如下。
下面这款蛇形管道疏通钩,目前是亚马逊美国站的#1 Best Seller,现有留评数高达24,582,售价在7.99-10.99美金:
<figure data-block="true" data-editor="bl7h0" data-offset-key="a6c5k-0-0" style="margin: 1.4em 0px; padding: 0px; max-width: 100%; color: rgb(18, 18, 18); font-family: -apple-system, BlinkMacSystemFont, "Helvetica Neue", "PingFang SC", "Microsoft YaHei", "Source Han Sans SC", "Noto Sans CJK SC", "WenQuanYi Micro Hei", sans-serif; white-space: pre-wrap; background-color: rgb(255, 255, 255); overflow-wrap: break-word !important; box-sizing: border-box !important;">
</figure>
产品卖点分析:
实用毛刺设计,轻松勾出堵塞物,防止再次堵塞;材料韧性强劲,可自由弯曲多个角度,不易折断;扁平长条形小巧造型适用不同的排水口,轻松清洁管道堵塞物。
<figure data-block="true" data-editor="bl7h0" data-offset-key="7347k-0-0" style="margin: 1.4em 0px; padding: 0px; max-width: 100%; color: rgb(18, 18, 18); font-family: -apple-system, BlinkMacSystemFont, "Helvetica Neue", "PingFang SC", "Microsoft YaHei", "Source Han Sans SC", "Noto Sans CJK SC", "WenQuanYi Micro Hei", sans-serif; white-space: pre-wrap; background-color: rgb(255, 255, 255); overflow-wrap: break-word !important; box-sizing: border-box !important;">
</figure>
侵权风险分析:
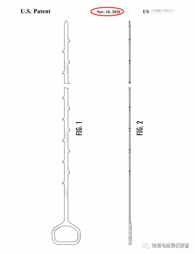
经美国专利背景定向检索,我们发现该产品在美国存在一款在先的高度相关的外观专利,权利人为美国一家公司,去年11月刚授权。所以有在美国站销售相关产品的卖家,应注意规避。下面就是这款蛇形管道疏通钩在美国相关的外观专利截图:
P.S.这款蛇形管道疏通钩与在先的这款美国外观专利,除了手柄部分不同,其他部分一致,所以还是有一定的侵权风险的。目前我们发现该款产品在亚马逊有多家在售,也许是因为这款外观专利刚刚授权,权利人还没有开始发起侵权投诉,也许是觉得其他产品跟自己的外观还不构成侵权,也许是在等后面一次性收割。总之后续有在销售该产品或者打算入场的卖家看到这篇文章后,要注意下专利侵权问题了。
该篇文章为卖家之家特约作者“跨境电商侵权预警”投稿文章,转载本文不得修改标题及原文,并保留来源以及原文链接,否则我们将保留追索权利。
猜你喜欢
1.跨境电商防侵权预警:爆款护腰带在美国站的外观专利检索分析
2.跨境电商防侵权预警:爆款耳机分线器在欧美加站点的外观专利检索分析
3.跨境电商防侵权预警:网红宝宝辅食勺在亚马逊美国站的外观专利检索分析

{{comment.user.nickName}} (楼主)
{{comment.time}} 回复({{comment.childAmount}}) 点赞({{comment.voteUpAmount}}) 点赞({{comment.voteUpAmount}})