侵权哥在一年前写过一篇关于连帽衫的侵权问题文章:懒人毯、连帽衫侵权风险分析
上一篇文章主要讲了两个连帽衫的品牌。一个叫Huggle,是TV品牌,同时也注册了外观专利;另一个是The oodie,主要是版权问题。还没看过的朋友可以点击上面的超链接查看。
今天讲一讲连帽衫的第3个品牌:The Comfy!
The Comfy创造了世界上第一条可穿戴毯子,而且经久耐用。它只有一种尺寸,但是适合所有人;柔软的材质能让每个人感觉到舒适。
The Comfy虽然看起来简单,但注册的专利可不简单,既有外观也有发明。
The Comfy共注册了6项美国外观专利,区别不大,这里就不做详细对比了。下面讲的发明专利可以概括到上面的全部内容!
US10420431B1 - 带有升高的有袋动物口袋的外套
毯子非常适合让坐在沙发上的人保持温暖和舒适。轻薄的毯子在凉爽的夜晚让人感到舒适,而厚重的毯子则非常适合在特别寒冷的夜晚取暖。但当一个人起床时,他们必须将温暖的毯子留在身后,然后在更冷的家中冒险。毯子戴在身上时实际上并不便携。需要改进的、舒适的毯子。
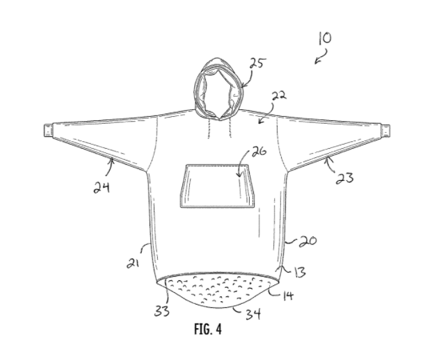
图1示出了人11穿着的具有升高的有袋动物口袋的放大外衣(以下称为“外衣10 ”),以虚线示出,处于站立姿势。可以清楚地看到,服装10相当大,其长度、宽度、比例和材料构造与传统服装有很大不同,从而使服装10能够以不同的和意想不到的方式使用。
衣服10的主体12优选地由两层柔软的、机织的、柔性的织物材料构成,限定了内层和外层。外层30位于主体12的外侧。外层30由具有低毛绒针织物的柔软而坚韧且略有弹性的材料构成,例如羊毛或超细纤维。外层30上的饰面是光滑的。该材料的内层31也由柔软而坚韧的材料构成,但具有更粗糙的高毛绒针织物,产生大而毛茸茸的毛皮状饰面。
它们可以通过织物焊接、粘合剂、纽扣、拉链或其他类似的紧固方式和方法固定或连接到每个上。
底部边缘33是敞开的。底部边缘33是大致环形或椭圆形的下摆件(如图9所示),通过缝合穿过外层和内层30和31而附接到躯干22,使得前片和后片不会磨损或展开。松散的结束。底部边缘33由柔软且柔韧但无弹性的织物材料构成,从而虽然躯干22的材料可弹性拉伸,但底部边缘33不会。
有袋动物的口袋26被携带在衣服10的外层30上,在其前部13处。口袋26具有顶部60、相对的斜边61和62、相对的短边63和64以及底部65。顶部60、短边63和64以及底部65缝到衣服10的外层30上,留下对角边。61和62免费开放。这允许有袋动物口袋26在其中携带物品或接收手以取暖。
(专利图和图下文字中的数字标记可能不完全对应,但不影响理解)
专利文件中还有许多内容,但我们了解上面几个重点就好。一如往常,我们最后来总结一下这项发明专利的核心要点:
1、大,专利文件中用的词叫"相当大"。其长度、宽度、比例和材料构造与传统服装有很大不同。
2、内外材质不同。表面光滑柔软,内层粗糙厚实。
3、紧固、连接方式。缝纫、粘合剂、纽扣、拉链、魔术贴或其他类似的紧固方式都处于保护范围之内。
4、胸口和腰部是有弹性可拉伸的,但底部开口处是无弹性的。
5、大口袋。专利中说的动物口袋,想象一下袋鼠的口袋就明了了。口袋处于腹部位置,形状为等腰梯形,并且"免费开放",也就是不设置纽扣或拉链进行封闭。
虽然总结出了5个要点,但这5个要点其实就是这种衣服的基本特征,很容易就全部满足从而构成侵权。更改其中某一两个要点基本是无法规避侵权的,但也不是不可能。说到发明专利的规避又会涉及到很多专业知识,一时半会讲解不完,有机会再分享。
以上,我们可以得到一个简单粗暴的结论:连帽衫涉及3个品牌的知识产权,侵权风险很大。不过就目前侵权哥个人的感觉来看,连帽衫被投诉的案例并不是很多,但风险肯定是有的,就看什么时候爆发。
该篇文章为卖家之家特约作者“一味君”投稿文章,转载本文不得修改标题及原文,并保留来源以及原文链接,否则我们将保留追索权利。
猜你喜欢

{{comment.user.nickName}} (楼主)
{{comment.time}} 回复({{comment.childAmount}}) 点赞({{comment.voteUpAmount}}) 点赞({{comment.voteUpAmount}})